Y2大型游乐设施操作【新训】试卷1
第1题:下列选项为观览车类游乐设施常见类型示意图,其中属于时空穿梭型的是( )。
A、

B、

C、

D、

第2题:下列选项为观览车类游乐设施常见类型示意图,其中属于摩天环车型的是( )。
A、

B、

C、

D、

第3题:下列选项为观览车类游乐设施常见类型示意图,其中属于无主轴摩天轮型的是( )。
A、

B、

C、

D、

第4题:下图游乐设施属于观览车类游乐设施的是( )。
A、

B、

C、

D、

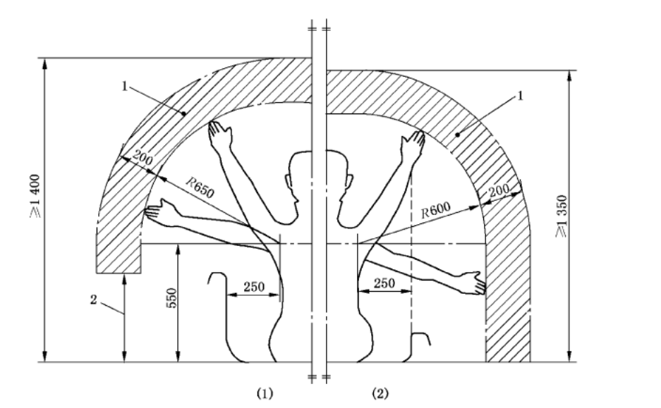
第5题:水上游乐设备中,()的净空区域及尺寸,按图所示。

A、水滑道
B、游乐池
C、游船
D、峡谷漂流
第6题:如图所示,游乐设施高度超过( )m以上时,应设置该仪器。

A、10
B、20
C、30
D、40
第7题:下图属于哪一种钢丝绳端部固定方法?( )

A、巴氏合金固定
B、绳夹固定
C、楔块固定
D、桃形环绳箍
第8题:按《特种设备安全监察条例》:锅炉、压力容器、电梯、起重机械、客运索道、大型游乐设施的安装、改造、维修以及场(厂)内专用机动车辆的改造、维修竣工后,安装、改造、维修的施工单位应当在验收后30日内将有关技术资料移交使用单位,高耗能特种设备还应当按照安全技术规范的要求提交( )报告。
A、调试
B、检测
C、试运行
D、能效测试
第9题:按《特种设备安全监察条例》:锅炉、压力容器、电梯、起重机械、客运索道、大型游乐设施的安装、改造、维修以及场(厂)内专用机动车辆的改造、维修竣工后,安装、改造、维修的施工单位应当在( )后30日内将有关技术资料移交使用单位,高耗能特种设备还应当按照安全技术规范的要求提交能效测试报告。
A、调试
B、检验
C、验收
D、试运行
第10题:赛车车辆坐席的净宽度单人应不小于()mm,双人不小于()mm,坐席靠背高度应不小于()mm。
A、300,600,300
B、300,500,400
C、400,700,300
D、400,700,400
第11题:赛车的()应灵活可靠。
A、车轮
B、驱动机构
C、传动机构
D、转向机构
第12题:自控飞机游艺机组成中,除下列哪一部分外都是其组成部分。( )
A、支撑油缸
B、座舱
C、吊厢
D、回转臂
第13题:在用的小赛车( )应当进行一次定期检验。
A、每半年
B、每年
C、每两年
D、视情况而定
第14题:大型游乐设施零部件间采用螺栓连接时,应采取防止( )措施;采用销轴连接时,应采取防止( )措施。
A、松动,松动
B、松动,脱落
C、脱落,松动
D、脱落,脱落
第15题:作业项目为特种设备安全管理的《特种设备安全管理和作业人员证》代号为( )。
A、A1
B、A3
C、A2
D、A
第16题:非法印制、伪造、涂改、倒卖、出租、出借《特种设备安全管理和作业人员证》,或者使用非法印制、伪造、涂改、倒卖、出租、出借《特种设备安全管理和作业人员证》的,处( )元以下罚款;构成犯罪的,依法追究刑事责任。
A、一千元
B、二千元
C、一万元
D、二万元
第17题:以下几种设备哪一种与其他类别不一样( )。
A、环园列车
B、UFO飞碟车
C、太空漫步
D、摩天环车
第18题:大摆锤安全压肩在设备停止运行前应始终处于( )状态。
A、打开
B、压紧
C、锁定
D、自由
第19题:《中华人民共和国特种设备安全法》自2014年( )起施行。
A、1月1日
B、7月1日
C、9月16日
D、10月1日
第20题:制定《中华人民共和国特种设备安全法》是为了加强特种设备安全工作,预防特种设备( ),保障人身和财产安全,促进经济社会发展。
A、安全事故
B、重特大事故
C、事故
D、生产事故
第21题:《中华人民共和国特种设备安全法》第七条规定,特种设备生产、经营、使用单位应当遵守本法和其他有关法律、法规,建立、健全特种设备安全和( )责任制度。
A、能效
B、节能
C、维护
D、保养
第22题:《中华人民共和国特种设备安全法》第十三条规定,特种设备生产、经营、使用单位及其主要负责人对其生产、经营、使用的特种设备( )负责。
A、经济运行
B、效率
C、节能
D、安全
第23题:《中华人民共和国特种设备安全法》第十二条规定,任何单位和个人有权向负责( )和有关部门举报涉及特种设备安全的违法行为,接到举报的部门应当及时处理。
A、特种设备安全监督管理的部门
B、劳动部门
C、检察机关
D、公安机关
第24题:碰碰车运行速度应不大于( )km/h。
A、8
B、10
C、12
D、14
第25题:GB 8408-2018《大型游乐设施安全规范》规定:摩擦传动用的钢丝绳直径应不小于( )。
A、6mm
B、8mm
C、10mm
D、12mm
第26题:下列哪项为转马系列游乐设施常见重要轴?( )
A、行走轮轴
B、防逆行装置的轴
C、钢丝绳吊挂轴
D、曲柄轴
第27题:根据《滑行车类游乐设施通用技术条件》(GB/T 18159-2019)要求,多车滑行车,应合理划分安全区域,并有相应的( )检测。
A、动力
B、传感器
C、风力
D、视频
第28题:游乐设施操作员每天运转前要检查( )。
A、安全装置
B、工服穿戴
C、鞋子
D、帽子
第29题:乘客上机后,操作人员应认真检查( )等安全防护装置,确认无误后方可开机运行。
A、乘客是否系好了安全带
B、乘客是否携带了贵重物品
C、乘客是否带有金属物品
D、乘客是否戴手表
第30题:游乐设施在运转中,操作人员( )。
A、可以玩手机
B、严禁擅自离岗
C、可以嬉戏打闹
D、胡乱操作
第31题:某公园“遨游太空”运行过程中,一乘客从座舱内甩出,撞击游乐设施安全栅栏后,掉落在平台受伤,经医院抢救无效死亡,后经调查发现该游客安全带未系好。事故原因分析。( )
A、设备日常维护保养不力
B、操作人员未按照安全操作管理规定执行
C、现场安全管理不到位
D、设备设计制造存在缺陷
第32题:王某驾驶一辆小赛车在车道内正常行驶,结果突然右侧出现了另一辆赛车,王某为躲避该车向左打方向冲入了车道中间的池塘,受惊不小,原来游乐场老板为了增加刺激性,在原来车道的基础上游修了一条支线导致了此次事故的发生,请分析()。
A、车道内有障碍物
B、车道不允许插入支线
C、道路两侧未设置缓冲拦挡物
D、赛车刹车不灵
第33题:小明最近应聘到某景区负责滑道的日常操作,今天他接到通知近期有一个安全检查,领导要求他尽快熟悉设备性能,制定出该设备的安全操作规程,编写应急救援预案并跟进该设备的维护保养和维修工作,请分析以上哪些不属于小明的职责()。
A、熟悉设备性能
B、制定设备的安全操作规程
C、编写应急救援预案
D、跟进设备的维护保养和维修工作
第34题:游乐设施每天运营结束后,操作人员应( )。
A、检查设备
B、切断电源
C、做好记录
D、锁好门窗
第35题:《特种设备使用管理规则 》(TSG 08-2017)规定,特种设备使用单位主要义务有( )。
A、建立并且有效实施特种设备安全管理制度和高耗能特种设备节能管理制度,以及操作规程;
B、采购、使用取得许可生产(含设计、制造、安装、改造、修理,并且经检验合格的特种设备,不得采购超过设计使用年限的特种设备,禁止使用国家明令淘汰和已经报废的特种设备;
C、设置特种设备安全管理机构,配备相应的安全管理人员和作业人员,建立人员挂历台帐,开展安全与节能培训教育,保存人员培训记录;
D、办理使用登记,领取《特种设备使用登记证》,设备注销时交回使用登记证;
第36题:某公园大型游乐设施观光小火车在运行过程中,因车速过快导致一名游客被撞后碾压,造成大腿骨折,直接经济损失80万元。经特种设备检测院技术鉴定确认,此次事故的直接原因是游乐场操作人员未按规范操作;设备检查不到位导致。下列叙述正确的是( )。
A、现场安全管理不到位
B、对操作人员安全教育培训不到位
C、市场监督管理部门监督管理不到位,未及时检查消除安全隐患
D、游客自身问题
第37题:小火车游乐设备在投入使用前要进行( )操作检查。
A、设备运行区域安全检查
B、设备试运行不少于2次
C、安全带
D、电气及驱动系统
第38题:根据《小火车类游乐设施通用技术条件》(GB/T 18165-2019)要求,小火车轨道道床应选择合理的道床( )。
A、边坡
B、长度
C、厚度
D、支撑面积
第39题:制造单位应保存( )。
A、产品检验报告
B、有关记录、图样、质量证明文件
C、技术文件
D、视频记录
第40题:根据《小火车类游乐设施通用技术条件》(GB/T 18165-2019)要求,小火车类游乐设施车厢座席应采用( )等材料制造。
A、软质
B、木质
C、普通塑料
D、玻璃钢
第41题:根据《小火车类游乐设施通用技术条件》(GB/T 18165-2019)要求,故障-安全的制动装置试验,在允许( )工况运行,试验故障-安全的制动装置3次, 制动装置应有效。
A、最大满载
B、偏载
C、空载
D、半载
第42题:根据《小火车类游乐设施通用技术条件》(GB/T 18165-2019)要求,小火车车轮装置应( )。
A、转动灵活
B、润滑
C、维修方便
D、操作方便
第43题:下列符合B级陀螺类游乐设施主要参数要求的是( )。
A、70°>倾角≥45°
B、12m>回转直径≥8m
C、乘客人数<40人
D、运行高度≥3m
第44题:整机运行试验时电气零部件不应有( )。
A、脱落
B、损坏
C、异常发热现象
D、声音
第45题:下列属于A级陀螺类游乐设施的是( )。
A、倾角为80度、回转直径10m的勇敢者转盘
B、单侧摆角50度、乘客40人的大摆锤
C、回转直径15m的迪斯科转盘
D、运行高度30m的旋转飞椅
第46题:按运行区域划分,游乐设施可划分为( )。
A、陆上游乐设施
B、水上游乐设施
C、空中游乐设施
D、组合式游乐设施
第47题:接地按其作用的不同一般可分为()。
A、工作接地
B、保护接地
C、防雷接地
D、重复接地
第48题:使用单位对非专供儿童乘坐的游乐设施,应根据设备特点等,对乘坐儿童的()进行规定。
A、身高
B、体重
C、年龄
D、血型
第49题:一名游客在乘坐滑索滑下的过程中被突出的树枝划伤了胳膊,经了解,几天前操作人员就已经发现了这个树枝但忘了修剪,造成此次受伤的原因有()。
A、乘客与周围障碍物的距离小于500mm
B、乘客未采取有效的避让
C、操作人员对发现的事故隐患未及时处理
D、设备本身有缺陷
第50题:赛车的主要部件包括()。
A、车架
B、行走轮系和转向机构
C、驱动机构和制动机构
D、安全装置
第51题:水上游乐设备水滑道的截留区设置越短越好。( )
A、正确
B、错误
第52题:距地面1m以上封闭吊厢的门,通常设有乘客在内部不能开启的两道锁紧装置,或一道带保险的锁紧装置。( )
A、正确
B、错误
第53题:《特种设备安全法》规定:特种设备采用新材料、新技术、新工艺,……,应当向国务院负责特种设备安全监督管理的部门申报,由国务院负责特种设备安全监督管理的部门及时委托安全技术咨询机构或者相关专业机构进行技术评审,评审结果经国务院负责特种设备安全监督管理的部门批准,方可投入生产、使用。( )
A、正确
B、错误
第54题:《特种设备安全法》规定:特种设备采用新材料、新技术、新工艺,与安全技术规范的要求不一致,或者安全技术规范未作要求、可能对安全与环保有重大影响的,应当向国务院负责特种设备安全监督管理的部门申报,由国务院负责特种设备安全监督管理的部门及时委托安全技术咨询机构或者相关专业机构进行技术评审。( )
A、正确
B、错误
第55题:《特种设备安全法》规定:特种设备生产、经营、使用单位对其生产、经营、使用的特种设备应当进行自行检测和维护保养,对国家规定实行检验的特种设备应当及时申报并接受检验。( )
A、正确
B、错误
第56题:《特种设备安全法》规定:特种设备安全管理人员、检测人员和作业人员应当严格执行安全技术规范和管理制度,保证特种设备安全。( )
A、正确
B、错误
第57题:《特种设备安全法》规定:特种设备安全管理人员、检测人员和作业人员应当按照国家有关规定接受相应的培训,方可从事相关工作。( )
A、正确
B、错误
第58题:《特种设备安全法》规定:特种设备生产、经营、使用单位应当按照国家有关规定配备特种设备安全管理人员、检测人员和作业人员,并对其进行必要的安全教育和技能培训。( )
A、正确
B、错误
第59题:根据《特种设备安全法》规定:特种设备生产、经营、使用单位及其主要负责人对其生产、经营、使用的特种设备安全负责。( )
A、正确
B、错误
第60题:《特种设备安全法》规定:任何单位和个人有权向负责特种设备安全监督管理的部门和有关部门举报涉及特种设备安全的违法行为,接到举报的部门应当及时回复。( )
A、正确
B、错误
第61题:《特种设备安全法》规定:负责特种设备安全监督管理的部门应当加强特种设备安全宣传教育,普及特种设备安全知识,增强特种设备使用人员的特种设备安全意识。( )
A、正确
B、错误
第62题:《特种设备安全法》规定:国家支持有关特种设备安全的科学技术研究,鼓励先进技术和先进管理方法的推广应用,对做出突出贡献的单位和个人给予奖励。( )
A、正确
B、错误
第63题:《特种设备安全监察条例》规定:特种设备的目录由国务院负责特种设备安全监督管理的部门制订,报国务院批准后执行。( )
A、正确
B、错误
第64题:涉及生命安全、危险性较大的容器是《特种设备安全监察条例》所称特种设备。( )
A、正确
B、错误
第65题:涉及生命安全、危险性较大的管道是《特种设备安全监察条例》所称特种设备。( )
A、正确
B、错误
第66题:涉及生命安全、危险性较大的游乐设施是《特种设备安全监察条例》所称特种设备。( )
A、正确
B、错误
第67题:涉及生命安全、危险性较大的场(厂)内专用机动车辆是《特种设备安全监察条例》所称特种设备。( )
A、正确
B、错误
第68题:涉及生命安全、危险性较大的大型游乐设施是《特种设备安全监察条例》所称特种设备。( )
A、正确
B、错误
第69题:涉及生命安全、危险性较大的气瓶是《特种设备安全监察条例》所称特种设备。( )
A、正确
B、错误
第70题:涉及生命安全、危险性较大的压力管道是《特种设备安全监察条例》所称特种设备。( )
A、正确
B、错误
第71题:《特种设备作业人员资格认定分类与项目》规定:特种设备焊接作业人员代号按照《特种设备焊接操作人员考核规则》的规定执行。( )
A、正确
B、错误
第72题:《特种设备作业人员监督管理办法》规定:任何单位和个人不得非法印制、伪造、涂改、倒卖、出租或者出借《特种设备作业人员证》。( )
A、正确
B、错误
第73题:侧轮在轨道内时滑行车轨距的误差为-3mm~5mm,侧轮在轨道外时滑行车轨距的误差为 -5mm~3mm,采用木结构轨道的木制过山车轨距误差为-5mm~6mm。( )
A、正确
B、错误
第74题:《特种设备作业人员监督管理办法》规定:《特种设备作业人员证》遗失或者损毁的,持证人应当及时报告发证部门,并在当地媒体予以公告。查证属实的,由发证部门补办证书。( )
A、正确
B、错误
第75题:《特种设备作业人员监督管理办法》规定:持有《特种设备作业人员证》的人员,必须经用人单位的法定代表人(负责人)或者其授权人雇(聘)用后,方可在许可的项目范围内作业。( )
A、正确
B、错误
第76题:根据《小火车类游乐设施通用技术条件》(GB/T 18165-2019)要求,每节车厢应标出定员人数,严禁超载运行。( )
A、正确
B、错误
第77题:GB 8408-2018《大型游乐设施安全规范》规定,制动器的制动行程不可调节。( )
A、正确
B、错误
第78题:碰碰车游乐设施中将上、下极板连成回路的导电装置叫导电杆。( )
A、正确
B、错误
第79题:沿架空轨道运行,由人力、电力和内燃机等驱动及运动形式类似的游乐设施属于小火车类游乐设施。( )
A、正确
B、错误
第80题:碰碰车因其运动特点,要求电机应具备足够的抗过载能力。( )
A、正确
B、错误
第81题:沿地面轨道运行,由电力、内燃机及其他动力驱动及运动形式类似的游乐设施属于小火车类游乐设施。( )
A、正确
B、错误
第82题:碰碰车每辆车都应标出定员人数。
A、正确
B、错误
第83题:沿架空轨道运行,由人力、电力和内燃机等驱动及运动形式类似的游乐设施属于架空游览车类游乐设施。( )
A、正确
B、错误
第84题:乘客操作的电器开关应采用不大于50V的安全电压 。( )
A、正确
B、错误
第85题:游乐设施每天运营前应进行例行安全检查,并经安全检查人员签字确认后才能投入运营。( )
A、正确
B、错误
第86题:游乐设施应在必要的地方和部位设置醒目的安全标志,其中蓝色为提示标志。( )
A、正确
B、错误
第87题:当自控飞机运行中突然停电座舱不能自动下降时,服务人员应迅速打开手动阀门卸油,将高空的乘客降到地面。( )
A、正确
B、错误
第88题:飞行塔类游乐设备超过20m时可不用设置风速仪。( )
A、正确
B、错误
第89题:高度超过20m的室外游乐设施在风速大于15m/s时,必须停止运行。( )
A、正确
B、错误
第90题:遨游太空游艺机的乘人部分是围绕水平轴转动的,属于飞行塔类游乐设施。( )
A、正确
B、错误
第91题:飞行塔类游乐设备在运行时不需要考虑偏载。( )
A、正确
B、错误
第92题:乘人部分用挠性件吊挂,边升降边绕垂直轴回转及运动形式类似的游乐设施属于飞行塔类游乐设施。( )
A、正确
B、错误
第93题:对于频繁起动的电动机选型应合理,起动电流宜不大于额定电流值的4.5倍。( )
A、正确
B、错误
第94题:地脚螺栓安装面应低于周围地面,避免积水造成腐蚀,条件限制的应对螺栓采取有效的防腐措施。( )
A、正确
B、错误
第95题:操作人员应当熟练掌握游乐设施安全保护装置的性能、使用和维护保养等知识。( )
A、正确
B、错误
第96题:设备在运行过程中,操作人员如有急事,可以临时离开岗位。( )
A、正确
B、错误
第97题:在额定载荷下,赛车蓄电池按实际工况连续工作时间宜不小于4h。( )
A、正确
B、错误
第98题:转转杯系列是指设备转动平台绕中心垂直立柱以可变倾角旋转,承载系统安装在转动平台上自旋的转马类游乐设施。( )
A、正确
B、错误
第99题:对于高强度螺栓,在强度或其他条件许可的情况下,预紧力越大越好。( )
A、正确
B、错误
第100题:游乐设施的进口处等游客易于注意的显著位置应设置“游客须知”和有关的安全标志。( )
A、正确
B、错误