Y2大型游乐设施操作【新训】试卷2
第1题:根据《小火车类游乐设施通用技术条件》(GB/T 18165-2019)对检验、检测与试验的要求,满载试验应按照实际工况连续试验每天应不小于( )h。
A、6
B、8
C、10
D、12
第2题:陀螺类游艺机传动系统的设计应保证运行时不允许有异常的振动、冲击、发热、( )及卡滞。
A、漏液
B、渗液
C、鼓包
D、声响
第3题:根据《小火车类游乐设施通用技术条件》(GB/T 18165-2019)要求,小火车轨道上存在多列车同时运行时应设置缓冲装置和( )。
A、安全栏杆
B、报警装置
C、限位装置
D、防碰撞保护装置
第4题:根据《小火车类游乐设施通用技术条件》(GB/T 18165-2019)要求,受限区域应设置疏散通道,单侧设置时宽度应不小于( )m。
A、0.8
B、1.1
C、1.5
D、1.8
第5题:对于大型游乐设施,操作员在发车前,应先检查压杆、( )等安全束缚装置,再发车。
A、车轮
B、安全带
C、车灯
D、装饰物
第6题:操作员对项目上挂有“禁止操作/合闸”等警示牌时,应该( )。
A、视情况而定
B、切断电源
C、摘除指示牌
D、禁止操作
第7题:根据《特种设备安全法》:国务院负责特种设备安全监督管理的部门应当将允许使用的新材料、新技术、新工艺的有关技术要求,及时纳入( )。
A、安全技术规范
B、特种设备材料、技术、工艺清单
C、相关标准
D、相关制度
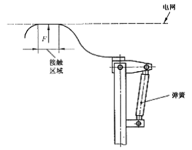
第8题:下图是有天网碰碰车上的什么装置?( )

A、集电器
B、摩天弓
C、导电杆
D、其它选项都不是
第9题:GB 8408-2018《大型游乐设施安全规范》规定:游乐设施进出口为有防滑花纹的斜坡时,坡度应不大于( )。
A、1:4
B、1:5
C、1:6
D、1:7
第10题:根据《特种设备安全法》第十六条 特种设备采用新材料、新技术、新工艺,与安全技术规范的要求不一致,或者安全技术规范未作要求、可能对安全性能有重大影响的,应当向国务院负责特种设备安全监督管理的部门申报,由国务院负责特种设备安全监督管理的部门及时委托安全技术咨询机构或者相关专业机构进行技术评审,评审结果经( )批准,方可投入生产、使用。
A、国务院
B、国务院负责特种设备安全监督管理的部门
C、受委托的评审机构
D、受委托的评审机构技术负责人
第11题:大型游乐设施突发故障、停电等情况,乘客乘坐在游乐设施中时,处于现场的操作人员必须处事不惊,首先( ),其次安抚在游乐设施上的游客并说明情况,使游客不要随意离开游乐设施,说服其他游客不要接近游乐设施。
A、通知领导
B、叫附近职工共同处理
C、维持现场秩序
D、按下紧急停止装置或切断电源
第12题:电流流经人体途径不同时,人体触电的严重程度亦不同,最危险的途径是( )。
A、从左脚到右脚
B、通过头部
C、通过中枢神经
D、从左手到前胸从前胸到后背
第13题:游乐设备安全带破断拉力应不小于( )N。
A、4000
B、5000
C、6000
D、7000
第14题:安全压杠在压紧状态时端部的游动量不大于( )mm。
A、20
B、25
C、30
D、35
第15题:下列一定属于A级游乐设施的是( )。
A、摆角<45°乘客>40人的海盗船
B、倾角>45°且乘客>40人的陀螺
C、回转直径>14m的自控飞机
D、回转直径>12m的转马
第16题:游乐设施运营单位应当在游乐设施投入使用前或投入使用后( )天内,向当地特种设备安全监督管理部门办理该设施的使用登记手续。
A、10
B、20
C、30
D、40
第17题:飞行塔类游乐设施中心支撑轴的中心线对水平面的垂直度公差应不大于( )。
A、1/100
B、1/500
C、1/1000
D、1/5000
第18题:飞行塔类游乐设施回转支撑与水平面倾斜度公差应不大于( )。
A、1/100
B、1/500
C、1/1000
D、1/5000
第19题:依据《大型游乐设施安全监察规定》,下列职责不是操作人员应当履行的是( )。
A、如实记录设备的运行情况
B、负责制定并落实设备维护保养及安全检查计划
C、每次运行前应当向乘客告知安全注意事项
D、熟悉应急救援流程
第20题:C级飞行塔类设备分级参数为( )。
A、高度≥30m
B、速度≥50km/h
C、高度<3m,人数<40人
D、人数大于40人
第21题:( )游乐设施是通过外部动力驱动使乘客装置短时间内获取较大初始动能的滑行车类游乐设施。
A、轨道滑管
B、木质过山车
C、发射式滑行车
D、断轨滑行车
第22题:A级飞行塔类设备分级参数为( )。
A、高度≥30m
B、速度≥50km/h
C、高度≥50m
D、20人<人数<40人
第23题:某设备主运动为座舱绕设备主体的中心轴旋转、升降且座舱绕自身的行星轴旋转,该设备属于( )。
A、自控飞机系列
B、章鱼系列
C、转马系列
D、旋转快车系列
第24题:B级观览车分级参数为( )。
A、高度≥50m
B、速度≥50km/h
C、50m>高度≥30m
D、高度≥60m
第25题:边运行边上下游客的游乐设施(如摩天轮等),其相对运动速度应不大于( )。
A、0.2m/s
B、0.3m/s
C、0.4m/s
D、0.5m/s
第26题:边运行边上下游客的游乐设施(如摩天轮等),乘人部分的进出口处高出站台不应超过( )。
A、200mm
B、300mm
C、400mm
D、500mm
第27题:摩天轮在运行时遇到风速大于( )的大风、雷雨、大雪等恶劣天气时应停止运营。
A、10m/s
B、12m/s
C、15m/s
D、8m/s
第28题:滑道的轨道及滑车两侧无障碍物距离应不小于()mm。
A、400
B、500
C、1000
D、1500
第29题:赛车的速度应不大于()Km/h。
A、10
B、15
C、20
D、40
第30题:滑道的设计应规定其整机与主要部件设计使用寿命,整机使用寿命不小于()。
A、20000h
B、25000h
C、30000h
D、35000h
第31题:游乐设施的控制装置通常由( )等几个部分组成。
A、 操作台
B、 操作手柄
C、 控制元件
D、 控制程序
第32题:游乐设施的基础不应有不均匀( )等异常现象。
A、 沉陷
B、 开裂
C、 松动
D、 扩大
第33题:TSG71-2023《大型游乐设施安全技术规程》规定,大型游乐设施应当在显著位置设置产品铭牌,产品铭牌内容至少包括()。
A、制造单位名称与制造地址特种设备生产许可证号
B、设备类别和型式
C、产品编号、制造日期
D、主要技术参数
第34题:某公园内的游乐场,“激流勇进”游乐设施发生事故,造成一人重伤。当时,操作人员将控制开关置于“手动”位置,前船尚未提升到最高点,还没有进入滑行段时,操作人员就将后船放出,此时前船突然间逆行下滑,造成前后两船直接相碰撞。经事故调查,该游乐设施的受力构件在焊接工艺上存在质量缺陷,与此同时,设计也不尽合理,提升挂钩与止逆装置安置在同一受力构件上,当提升挂钩脱焊后,止逆装置一并脱落,起不到安全保护作用。事故原因分析:( )
A、操作人员违反操作规程
B、止逆装置设计存在缺陷
C、重要受力构件焊接质量存在缺陷
D、设备没有经过监督检验
第35题:某乐园遨游太空项目,一名较胖游客乘坐后,在设备运行期间被甩出座位,重重摔在地上,后经医院检查,脊椎椎体爆裂性骨折,需手术治疗。此设备设有上压杠、下拉杆、安全带三种保险,但由于乘客体型较胖,下拉杆和安全带锁扣之间挤压严重,当安全带锁头和锁扣达到一定角度后,安全带就解开了。事故原因分析。( )
A、设备设计存在缺陷
B、操作者未及时作出紧急处理措施
C、操作者检查不到位
D、游客没有遵守安全须知。
第36题:某公园内,游客贾某在“高空揽月“游乐设施上乘坐时,在运转中从约3m高处被甩出,撞击栏杆落在距地0.8m的平台上,造成贾某局部损伤和右手骨折,经查在运行中安全带松脱,安全带未完全系好,同时此设备未经注册登记即投入使用。事故原因分析( )。
A、操作人员操作失误
B、安全压杠设计存在缺陷
C、没有按工艺要求进行加工
D、运营单位安全管理失职
第37题:某游乐场的“探空梭”游乐设施在运营时,服务人员朱某在已经示意操作人员启动机器后,发现一名游客安全带未系好,就准备帮助捆绑,但此时探空梭已启动,情急之下朱某单手抓住探空梭的压杆,随探空梭上升,操作人员发现后紧急停机,但朱某还是从5m高空坠落死亡,经查操作人员未取得特种设备作业资格证。事故原因分析。( )
A、服务人员违反操作规程
B、操作人员无证操作
C、没有按工艺要求进行加工
D、设备没有经过监督检验
第38题:在某公园游乐场,一名游客乘坐观览车类游乐设施“天旋地转”时,安全压杠尚未锁紧,安全带也未扣上,操作人员就已启动设备。设备刚刚运转,乘客即从距离地面5m高处的座位上脱离,坠落到地面造成重伤。事故原因分析。( )
A、操作者违反安全操作规程
B、设备存在严重缺陷
C、操作者无证操作
D、操作者安全意识淡薄
第39题:依据《大型游乐设施安全监察规定》,大型游乐设施出厂时,应当附有()等文件。
A、产品质量合格证明
B、设计文件鉴定报告
C、型式试验合格证明
D、安装及使用维护说明书
第40题:某景区滑索的钢丝绳刚换了一年,在检查的时候发现钢丝绳锈蚀,且下站处有大量的断丝甚至断股出现,经了解,下站操作人员经常通过拉动系在钢丝绳上的绳子以减少钢丝绳绳间距的方式来制停滑车,请分析出现上述现象的原因()。
A、承载索钢丝绳未采用线接触、交互捻钢芯镀锌钢丝绳
B、操作人员制停滑车的方式有误,导致钢丝绳与滑车轮的摩擦增大,加剧了钢丝绳的磨损
C、承载索的张力调整不均
D、钢丝绳端部紧固装置的固定效率不足80%
第41题:张某和白某在到牛某经营的某游乐场游玩,张某和白某在售票处付给牛某30元钱(现场未取得海盗船门票)后,坐到了海盗船上,当时张某坐在海盗船东头船尾北侧。两个女孩坐下后,操作员牛某在既没有向乘客交代注意事项,也未检查安全压杠的情况下,就进入操作室启动海盗船。设备运行了几分钟后,计时铃声响起,牛某按下停机按钮,并启动了制动装置。在设备未停稳的状态下,张某推开压杠从座位上站起,因海盗船的摆动造成张某脚下失稳,摔倒在海盗船和站台中间的空隙中,这时回摆的海盗船东北侧船尾挤压其头部,造成其当场死亡。事故原因分析:( )
A、设备乘客束缚装置存在严重安全隐患
B、经营者安全检查不到位
C、操作人员运行前检查不到位
D、操作人员未向游乐交代安全注意事项
第42题:某公园游乐场,该公园管理处为场地提供方,游乐设施经营业主租用场地开展穿梭时空游乐项目,未与公园管理处签订了安全管理协议,未落实安全管理制度。马某与其母乘玩该项目(同乘的还有其他2名游客),该游乐项目的安全员(兼售票员)引导游客马某和其母亲坐上游乐设施后,在未确认他们俩的安全压杠是否到位、安全带是否系好的情况下,见又有游客准备购票乘坐穿梭时空,便匆匆回到售票处。而操作员却误认为乘客的安全保护装置已完全到位,在打响三遍警铃后,启动设备,造成马某和其母亲从运转的设备中甩出,马某被送医院进行抢救,其母亲则当场死亡。事故原因分析:( )。
A、操作员与安全员未按规章操作
B、公园管理处安全管理缺位
C、项目经营业主安全意识淡薄
D、乘客未遵守乘客须知
第43题:某公园一无证操作人员在操作大型游乐设施“飞鹰”运行过程时,发生一起坠落事故。游乐设施因安全锁扣脱落,一名二十多岁的男子坠落,后经抢救无效身亡。事故原因分析。( )
A、设备日常维护保养不力
B、操作人员未按照安全操作管理规定执行
C、操作人员无证操作
D、游客没有遵守安全须知的规定
第44题:某公园游乐场,该公园管理处为场地提供方,游乐设施经营业主租用场地开展穿梭时空游乐项目。孟某与其母乘玩该项目(同乘的还有其他2名游客),该游乐项目的安全员(兼售票员)引导游客孟某和其母亲坐上游乐设施后,在未确认他们俩的安全压杠是否到位、安全带是否系好的情况下,见又有游客准备购票乘坐穿梭时空,便匆匆回到售票处。而操作员却误认为乘客的安全保护装置已完全到位,在打响三遍警铃后,启动设备,造成孟某和其母亲从运转的设备中甩出,孟某被送医院进行抢救,其母亲则当场死亡。本次事故相关责任方(责任人)为( )。
A、项目经营业主
B、项目安全员
C、设备操作员
D、公园管理处及各级管理人员
第45题:某公园大型游乐设施遨游太空在运行过程中,一乘坐者从座舱内甩出,撞击游乐设施安全栅栏后,掉落在平台受伤,经医院抢救无效死亡,该事故造成1人死亡,直接经济损失120万元。据了解,乘坐者就坐后,压肩护胸安全压杠未推到位、没有压实;肩式安全带未系紧;腰部安全带未系,设备即启动运行。经调查,该游乐场所运行3年来未按要求设置特种设备安全管理机构或配备专职特种设备安全管理人员,安全档案中无相关作业人员安全教育培训资料。( )
A、操作人员未按操作规范作业
B、运营使用单位安全管理有缺陷
C、对操作人员安全培训不到位
D、市场监督管理部门监督管理不到位
第46题:玻璃钢件表面( )。
A、不允许有裂纹、破损等缺陷,转角处过渡要圆滑
B、触及乘客的内表面应整洁,不得有玻璃布头显露
C、玻璃钢件边缘应平整圆滑,无分层
D、玻璃钢件与受力件直接连接可靠
第47题:以下不属于飞行塔类游乐设施运行特点的有( )。
A、乘人部分用挠性件吊挂,边升降边绕垂直轴回转
B、乘人部分绕水平轴转动或摆动
C、设施无动力,靠乘自己的操作或游乐
D、座舱绕可变倾角的轴回转运动,主轴大都安装在可升降的大臂上
第48题:以下哪项不是旋转飞椅的特点( )。
A、乘人装置沿垂直轨道上下运动
B、乘人部分采用钢丝绳吊挂
C、乘人装置绕垂直轴一边升降一边旋转
D、多为单人或双人座椅
第49题:以下哪项不是跳楼机的特点( )。
A、乘人装置沿垂直轨道上下运动
B、乘人部分采用钢丝绳吊挂
C、乘人装置绕垂直轴一边升降一边旋转
D、多为单人座椅或双人座椅
第50题:以下飞行塔类设备运行方式为沿塔体升降的有( )。
A、跳楼机
B、太空梭
C、摇头飞椅
D、桑巴塔
第51题:《特种设备安全法》规定:军事装备使用的特种设备安全的监督管理适用本法()
A、正确
B、错误
第52题:《中华人民共和国特种设备安全法》规定,特种设备发生事故后,事故发生单位应当按照应急预案采取措施,组织抢救,疏散人群,防止事故扩大,减少人员伤亡和财产损失,稀释空气,保护事故现场和有关证据,并及时向事故发生地县级以上人民政府负责特种设备安全监督管理的部门和有关部门报告。
A、正确
B、错误
第53题:游乐设施的金属结构应具有足够的强度、刚度、稳定性。 ( )
A、正确
B、错误
第54题:游乐设施在每日投入运营前应进行至少2次试运行,设备经确认运行正常后方可开始向游客开放。
A、正确
B、错误
第55题:游乐设施的大修、改造业务可以包给任何修理、改造单位。()
A、正确
B、错误
第56题:游乐设施在每日投入运营前,使用单位必须进行试运行和相应的安全检查,并记录检查情况。()《大型游乐设施安全管理人员和作业人员培训教程》
A、正确
B、错误
第57题:在游乐设施突发故障、停电等情况,乘客乘坐在游乐设施时,处于现场的操作人员,必须处事不惊,要使游客不要随意离开游乐设施,说服其他游客严禁接近游乐设施。()?
A、正确
B、错误
第58题:小火车每节车厢应标出定员人数,可以超载1人运行。( )
A、正确
B、错误
第59题:游乐设施作业人员是指从事游乐设施操作、维修的人员。( )
A、正确
B、错误
第60题:摩天轮在遇到风速大于10m/s的大风时应停止运营。( )
A、正确
B、错误
第61题:赛车玻璃钢表面不应有裂纹、破损、明显修补痕迹、布纹显露、皱纹、凸凹不平、色调不一致等缺陷,转角处过度应圆滑。( )
A、正确
B、错误
第62题:高度20m以上的室外游乐设施,应设有风速计,风速大于8m/s时,应停止运营。( )
A、正确
B、错误
第63题:重要螺栓连接,应采用可靠的防松措施。( )
A、正确
B、错误
第64题:游乐设备乘客通道照明照度应不低于60lx,应急照明照度不低于20lx。( )
A、正确
B、错误
第65题:碰碰车属于主动交互式游乐设施。( )
A、正确
B、错误
第66题:转马类游乐设施安全性高,其重要轴和重要焊缝可以不进行无损检测。( )
A、正确
B、错误
第67题:赛车每辆车应标出定员人数,严禁超载运行。( )
A、正确
B、错误
第68题:《中华人民共和国特种设备安全法》规定:特种设备作业人员在作业过程中发现事故隐患或者其他不安全因素,应当立即向特种设备安全管理人员报告。( )
A、正确
B、错误
第69题:《中华人民共和国特种设备安全法》规定:特种设备安装、改造、修理的施工单位应当在施工前将拟进行的特种设备安装、改造、修理情况书面告知区级特种设备安全监督管理的部门。( )
A、正确
B、错误
第70题:《中华人民共和国特种设备安全法》规定:特种设备安全管理人员、检测人员和作业人员应当按照国家有关规定取得相应资格,方可从事相关工作。( )
A、正确
B、错误
第71题:《中华人民共和国特种设备安全法》规定,特种设备安全管理人员、检测人员和作业人员应当按照国家有关规定取得相应资格,方可从事相关工作。
A、正确
B、错误
第72题:制定《中华人民共和国特种设备安全法》最重要的目的是制裁各种特种设备安全违法犯罪行为。
A、正确
B、错误
第73题:《中华人民共和国特种设备安全法》规定,负责特种设备安全监督管理的部门应当加强特种设备质量宣传教育,普及特种设备质量知识,增强社会公众的特种设备质量意识。( )
A、正确
B、错误
第74题:《中华人民共和国特种设备安全法》规定,特种设备行业协会应当加强行业自律,推进行业诚信体系建设,提高特种设备安全管理水平。( )
A、正确
B、错误
第75题:《中华人民共和国特种设备安全法》规定,特种设备安全工作应当坚持安全第一、预防为主、综合治理的原则。( )
A、正确
B、错误
第76题:《中华人民共和国特种设备安全法》明确,为了加强特种设备安全工作,预防特种设备事故,保障人身和财产安全,促进经济社会发展,制订本法。( )
A、正确
B、错误
第77题:根据GB 8408-2018《大型游乐设施安全规范》中关于焊缝分级的规定,ⅰ级、ⅱ级焊缝为重要焊缝,其余为一般焊缝。( )
A、正确
B、错误
第78题:依据《大型游乐设施安全监察规定》,设备运行时操作人员应当密切注意乘客动态及设备运行状态,发现不正常情况,应当立即采取有效措施,消除安全隐患。( )
A、正确
B、错误
第79题:依据《大型游乐设施安全监察规定》,运营使用单位应当对每台(套)大型游乐设施建立技术档案,依法管理和保存。技术档案应当包括运行、维护保养、设备故障与事故处理记录。( )
A、正确
B、错误
第80题:依据《大型游乐设施安全监察规定》,运营使用单位应当制定应急预案,建立应急救援指挥机构,配备相应的救援人员、营救设备和急救物品。对每台(套)大型游乐设施还应当制定专门的应急预案。 ( )
A、正确
B、错误
第81题:依据《大型游乐设施安全监察规定》,从事大型游乐设施设计文件鉴定、型式试验、监督检验、定期检验的特种设备检验机构,应当依法经核准,方可从事相应的活动,并对其鉴定结论、检验结果负责。 ( )
A、正确
B、错误
第82题:依据《大型游乐设施安全监察规定》,操作人员应当熟悉应急救援流程。发生故障或突发事件,应当立即停止运行或采取紧急措施保护乘客,并立即向现场安全管理人员报告。( )
A、正确
B、错误
第83题:对持证作业人员违反特种设备操作规程和有关的安全规章制度操作,情节严重的,应对他们进行批评教育,而不必撤消《特种设备作业人员证》。
A、正确
B、错误
第84题:《中华人民共和国特种设备安全法》规定,使用单位不必对特种设备进行定期自行检查。( )
A、正确
B、错误
第85题:TSG71-2023《大型游乐设施安全技术规程》规定,儿童爬山车(架空游览车类)的乘客束缚装置只能由操作人员释放。
A、正确
B、错误
第86题:TSG71-2023《大型游乐设施安全技术规程》规定,安全带应当明确更换周期或者更换条件。
A、正确
B、错误
第87题:TSG71-2023《大型游乐设施安全技术规程》规定,大型游乐设施如果对座舱等乘人装置结构进行封闭,可不进行内部检修。
A、正确
B、错误
第88题:TSG71-2023《大型游乐设施安全技术规程》规定,大型游乐设施操作台上应当设置紧急停止按钮(必要时站台上也应当设置),按钮型式应当采用凸起手动复位式。
A、正确
B、错误
第89题:GB8408-2018《大型游乐设施安全规范》规定高度20m以上的游乐设施在高度不低于10m处应设有风速计,风速大于15m/s(米/秒)时,必须停止运行。
A、正确
B、错误
第90题:GB8408-2018《大型游乐设施安全规范》规定:重要零部件间的销轴连接应有防脱落措施。
A、正确
B、错误
第91题:GB8408-2018《大型游乐设施安全规范》规定:制动器的制动行程不可调节。
A、正确
B、错误
第92题:GB8408-2018《大型游乐设施安全规范》规定:在使用期间需要进行定期检查和无损检测的零部件,应便于检查和检测,需要拆卸的,应便于拆卸。
A、正确
B、错误
第93题:GB8408-2018《大型游乐设施安全规范》规定:运营前,中,后阶段,游乐设施如有任何异常状况应停止运营,待安全隐患排除后方可重新投入运行。
A、正确
B、错误
第94题:GB8408-2018《大型游乐设施安全规范》规定:在地面上行驶的车辆,其驱动和传动部分及车轮应进行覆盖。
A、正确
B、错误
第95题:GB8408-2018《大型游乐设施安全规范》规定:乘人部分必须标出定员人数,严禁超载运行
A、正确
B、错误
第96题:GB8408-2018《大型游乐设施安全规范》规定:操作人员在设备每次运行前,要确认乘客束缚装置已锁紧,设备运行区域无任何人员和障碍物。
A、正确
B、错误
第97题:GB8408-2018《大型游乐设施安全规范》规定:操作人员,站台服务人员在设备运行过程中是可以进入设备运行区域的,其他人员不允许。
A、正确
B、错误
第98题:GB8408-2018《大型游乐设施安全规范》规定:采用自动控制或联锁控制时应有维修(维护)模式,每个动作要能单独控制。
A、正确
B、错误
第99题:GB8408-2018《大型游乐设施安全规范》规定:采用皮带及链条传动时,应设置可调整皮带或链条的张紧机构。
A、正确
B、错误
第100题:GB8408-2018《大型游乐设施安全规范》规定:采用自动控制或联锁控制时,当误操作时,设备不允许有危及乘客安全的运动。
A、正确
B、错误